Product Summary
The rn4983fe is a TOSHIBA Transistor.
Parametrics
rn4983fe absolute maximum ratings: (1)Collector-base voltage VCBO: 50 V; (2)Collector-emitter voltage VCEO: 50 V; (3)Emitter-base voltage VEBO: 10V; (4)Collector current IC: 100 mA; (5)Collector power dissipation PC: 200 mW; (6)Junction temperature Tj: 150℃; (7)Storage temperature range Tstg: -55 to 150℃.
Features
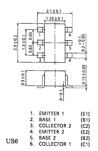
rn4983fe features: (1)Includeing two devices in US6 (ultra super mini type with 6 leads)With built-in bias resistors; (2)Simplify circuit design; (3)Reduce a quantity of parts and manufacturing process.
Diagrams

(China (Mainland))






