Product Summary
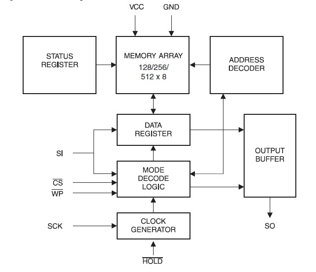
The AT25040AN-10SI-2.7 is a SPI serial extended temperature EEPROM. The AT25040AN-10SI-2.7 provides 4096 bits of serial electrically-erasable programmable read-only memory (EEPROM) organized as 512 words of 8 bits each. The AT25040AN-10SI-2.7 is optimized for use in many automotive applications where low-power and low-voltage operation are essential. The AT25040AN-10SI-2.7 is available in space-saving 8-lead TSSOP packages. The AT25040AN-10SI-2.7 is enabled through the Chip Select pin (CS) and accessed via a three-wire interface consisting of Serial Data Input (SI), Serial Data Output (SO), and Serial Clock (SCK). All programming cycles are completely self-timed, and no separate erase cycle is required before write.
Parametrics
AT25040AN-10SI-2.7 absolute maximum ratings: (1)Operating temperature: -55°C to +125°C; (2)Storage temperature: -65°C to +150°C; (3)Voltage on any pin with respect to ground: -1.0 V to +7.0 V; (4)Maximum operating voltage: 6.25 V; (5)DC output current: 5.0 mA.
Features
AT25040AN-10SI-2.7 features: (1)Serial peripheral interface (SPI)compatible; (2)Supports SPI modes 0 (0,0)and 3 (1,1): Data sheet describes mode 0 operation; (3)Medium-voltage and standard-voltage operation: 2.7 (VCC = 2.7V to 5.5V); (4)Extended temperature range: −40°C to +125°C; (5)5.0 MHz clock rate; (6)8-byte page mode; (7)Block write protection: Protect 1/4, 1/2, or entire array; (8)Write protect (WP)pin and write disable instructions for both hardware and software data protection; (9)Self-timed write cycle (10 ms max); (10)High reliability: Endurance: One million write cycles; Data retention: 100 years; (11)8-lead TSSOP packages.
Diagrams

| Image | Part No | Mfg | Description | ![]() |
Pricing (USD) |
Quantity | ||||
|---|---|---|---|---|---|---|---|---|---|---|
![]() |
![]() AT25040AN-10SI-2.7 |
![]() |
![]() IC EEPROM 4KBIT 20MHZ 8SOIC |
![]() Data Sheet |
![]() Negotiable |
|
||||
![]() |
![]() AT25040AN-10SI-2.7 SL383 |
![]() |
![]() IC EEPROM 4KBIT 20MHZ 8SOIC |
![]() Data Sheet |
![]() Negotiable |
|
||||
(China (Mainland))









