Product Summary
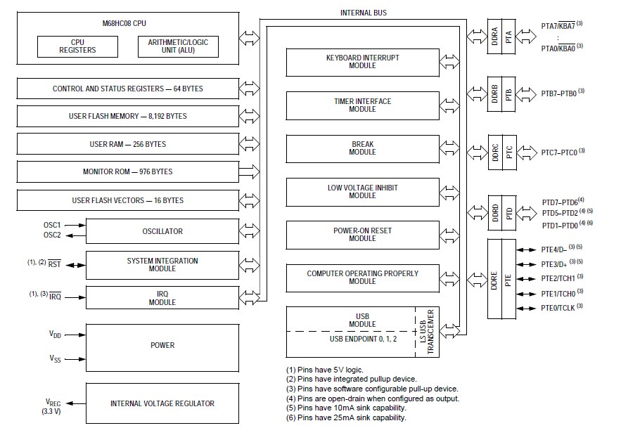
The MC68HC908JB8FB is a member of the low-cost, high-performance MC68HC908JB8FB Family of 8-bit microcontroller unit (MCU). The MC68HC908JB8FB Family is based on the customer-specified integrated circuit (CSIC) design strategy. All MCUs in the family use the enhanced MC68HC908JB8FB central processor unit (CPU08) and are available with a variety of modules, memory sizes and types, and package types.
Parametrics
MC68HC908JB8FB absolute maximum ratings: (1)Supply voltage: –0.3 to +6.0 V; (2)Mode entry voltage, IRQ pin: VSS–0.3 to +11 V; (3)Maximum current per pin excluding VDD and VSS: ± 25 mA; (4)Storage temperature: –55 to +150 °C; (5)Maximum current of PTD0/1 (20-pin package): –25 to +50 mA; (6)Maximum current out of VSS: 100 mA; (7)Maximum current into VDD: 100 mA.
Features
MC68HC908JB8FB features: (1)High-performance MC68HC908JB8FB architecture; (2)Fully upward-compatible object code with M6805, M146805, and M68HC05 Families; (3)3-MHz internal bus frequency; (4)8,192 bytes of on-chip FLASH memory; (5)256 bytes of on-chip random-access memory (RAM); (6)FLASH program memory security1; (7)On-chip programming firmware for use with host PC computer.
Diagrams

| Image | Part No | Mfg | Description | ![]() |
Pricing (USD) |
Quantity | ||||
|---|---|---|---|---|---|---|---|---|---|---|
![]() |
![]() MC68HC908JB8FB |
![]() |
![]() IC MCU 8K FLASH 3MHZ 44-QFP |
![]() Data Sheet |
![]() Negotiable |
|
||||
| Image | Part No | Mfg | Description | ![]() |
Pricing (USD) |
Quantity | ||||
![]() |
![]() MC6800 |
![]() Other |
![]() |
![]() Data Sheet |
![]() Negotiable |
|
||||
![]() |
![]() MC6801 |
![]() Other |
![]() |
![]() Data Sheet |
![]() Negotiable |
|
||||
![]() |
![]() MC68020 |
![]() Other |
![]() |
![]() Data Sheet |
![]() Negotiable |
|
||||
![]() |
![]() MC68020CEH16E |
![]() Freescale Semiconductor |
![]() Microprocessors (MPU) 32-BIT MPU |
![]() Data Sheet |
![]() Negotiable |
|
||||
![]() |
![]() MC68020CEH25E |
![]() Freescale Semiconductor |
![]() Microprocessors (MPU) 32-BIT MPU |
![]() Data Sheet |
![]() Negotiable |
|
||||
![]() |
![]() MC68020CRC16E |
![]() Freescale Semiconductor |
![]() Microprocessors (MPU) 32-BIT MPU |
![]() Data Sheet |
![]() Negotiable |
|
||||
(China (Mainland))










