Product Summary
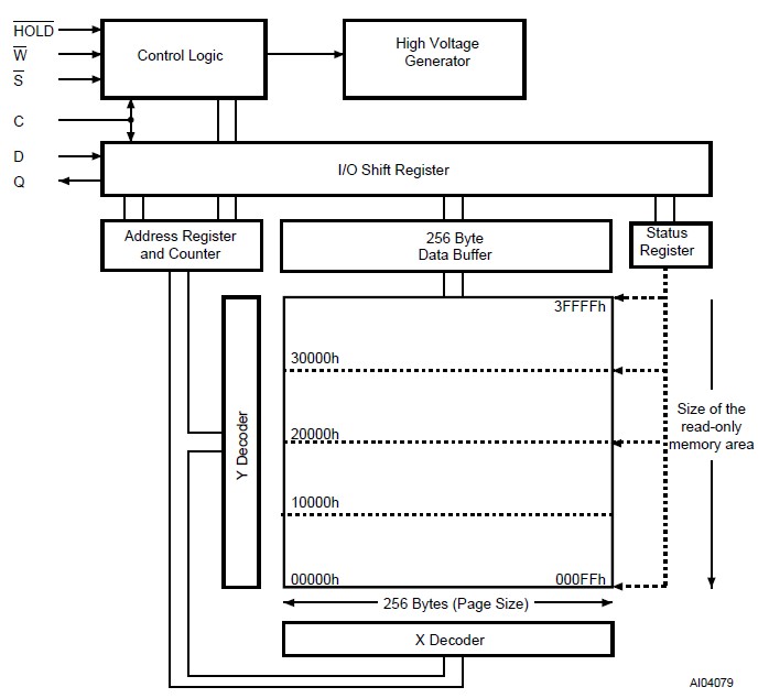
The M25P20-VMN6TPB is a 2 Mbit (256K x 8) Serial Flash Memory, with advanced write protection mechanisms, accessed by a high speed SPI-compatible bus.
Parametrics
M25P20-VMN6TPB absolute maximum ratings: (1)Storage Temperature: –65 to 150 ℃; (2)Input and Output Voltage (with respect to Ground): –0.6 to 4.0 V; (3)Supply Voltage: –0.6 to 4.0 V; (4)Electrostatic Discharge Voltage (Human Body model): –2000 to 2000 V.
Features
M25P20-VMN6TPB features: (1)2 Mbit of Flash Memory; (2)Page Program (up to 256 Bytes) in 1.4ms (typical); (3)Sector Erase (512 Kbit) in 1s (typical); (4)Bulk Erase (2 Mbit) in 3s (typical); (5)2.7 to 3.6V Single Supply Voltage; (6)SPI Bus Compatible Serial Interface; (7)50MHz Clock Rate (maximum); (8)Deep Power-down Mode 1μA (typical); (9)Electronic Signatures; (10)Packages: ECOPACK (RoHS compliant).
Diagrams

| Image | Part No | Mfg | Description | ![]() |
Pricing (USD) |
Quantity | ||||||||||||||||||||
|---|---|---|---|---|---|---|---|---|---|---|---|---|---|---|---|---|---|---|---|---|---|---|---|---|---|---|
![]() |
![]() M25P20-VMN6TPB |
![]() |
![]() IC FLASH 2MBIT 75MHZ 8SOIC |
![]() Data Sheet |
![]()
|
|
||||||||||||||||||||
| Image | Part No | Mfg | Description | ![]() |
Pricing (USD) |
Quantity | ||||||||||||||||||||
![]() |
![]() M25P01K9FC |
![]() JAE Electronics |
![]() Automotive Connectors Pin Contact MX25 |
![]() Data Sheet |
![]()
|
|
||||||||||||||||||||
![]() |
![]() M25P05 |
![]() Other |
![]() |
![]() Data Sheet |
![]() Negotiable |
|
||||||||||||||||||||
![]() |
![]() M25P05-A |
![]() Other |
![]() |
![]() Data Sheet |
![]() Negotiable |
|
||||||||||||||||||||
![]() |
![]() M25P05-AVDW6TP |
![]() STMicroelectronics |
![]() Flash 512 KB Lo Vltg Serial Flash memory |
![]() Data Sheet |
![]() Negotiable |
|
||||||||||||||||||||
![]() |
![]() M25P05-AVMB6TP |
![]() |
![]() IC SRL FLASH 512KBIT 3V 8UFDFPN |
![]() Data Sheet |
![]() Negotiable |
|
||||||||||||||||||||
![]() |
![]() M25P05-AVMN6 |
![]() STMicroelectronics |
![]() Flash 3.0V 512K (64Kx8) |
![]() Data Sheet |
![]() Negotiable |
|
||||||||||||||||||||
(China (Mainland))











