Product Summary
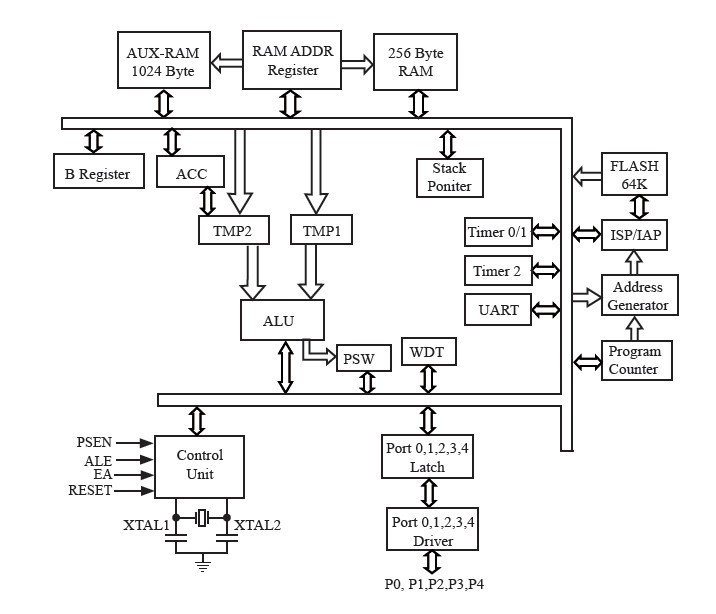
The STC89C52RC-40I, which is produced by STC MCU Limited, is a 8-bit single-chip microcontroller with a fully compatible instruction set with industrial-standard 80C51 series microcontroller. There is 64K bytes flash memory embeded for appliaction program, which is shared with In-System-Programming code.In-System-Programming (ISP) and In-Application-Programming (IAP) support the users to upgrade the program and data in system. ISP allows the user to download new code without removing the microcontroller from the actual end product; IAP means that the device can write non-valatile data in Flash memory while the application program is running. There are 1280 bytes or 512 bytes on-chip RAM embedded that provides requirement from wide field application. The user can configure the device to run in 12 clocks per machine cycle, and to get the same performance just as he uses another standard 80C51 device that is provided by other vendor, or 6 clocks per machine cycle to achieve twice performance. The STC89C52RC-40I retains all features of the standard 80C51. In addition, the STC89C52RC-40I has a extra I/O port (P4 ), Timer 2, a 8-sources, 4-priority-level interrupt structure, on-chip crystal oscillator,and a one-time enabled Watchdog Timer.
Features
STC89C52RC-40I features: (1)Enhanced 80C51 Central Processing Unit ,6T or 12T per machine cycle; (2)Operation voltage range: 5.5V to 3.3V (STC89C series) or 2.0V to 3.6V (STC89LE series); (3)Operation frequency range: 0- 48MHz@12T, or 0-24MHz@6T; (4)On-chip 4/8/13/16/20/32/64K FLASH program memory with flexible ISP/IAP capability; (5)On-chip 1280 byte / 512 byte RAM; (6)Be capable of addressing up to 64K byte of external RAM; (7)Be capable of addressing up to 64K bytes external memory; (8)Dual Data Pointer (DPTR) to speed up data movement; (9)Three 16-bit timer/counter, Timer 2 is an up/down counter with programmable clcok output on P1.0; (10)8 vector-address, 4 level priority interrupt capability; (11)One enhanced UART with hardware address-recognition, frame-error detection function, and with self baudrate generator.; (12)One 15 bits Watch-Dog-Timer with 8-bit pre-scaler (one-time-enabled); (13)integrate MAX810 — specialized reset circuit; (14)Three power management modes: idle mode and power-down mode; (15)Low EMI: inhibit ALE emission; (16)Power down mode can be woken-up by INT0/P3.2 pin, INT1/P3.3 pin, T0/P3.4, T1/P3.5, RXD/P3.0 pin, INT2/P4.3, INT3/P4.2; (17)Maximum 39 programmable I/O ports are available; (18)Four 8-bit bi-directonal ports; extra four-bit additional P4 are available for PLCC-44 and LQFP-44; (19)Operating temperature: -40 to +85℃ (industrial) / 0 to 75℃(commercial); (20)package type :LQFP-44,PDIP-40,PLCC-44.
Diagrams

(China (Mainland))






