Product Summary
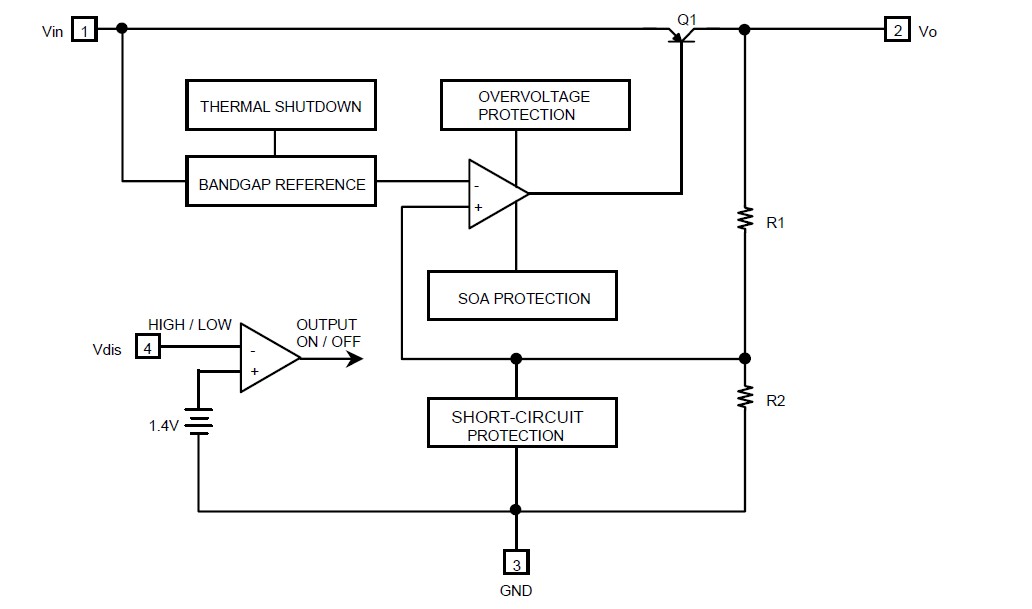
The KA78R09CTU is a low-dropout voltage regulator suitable for various electronic equipments. It provides constant voltage power source with TO-220-4 lead full mold package. Dropout voltage of the KA78R09CTU is below 0.5V in full rated current(1A). The KA78R09CTU has various functions such as peak current protection, thermal shut down, overvoltage protection and output disable function.
Parametrics
KA78R09CTU absolute maximum ratings: (1)Input voltage Vin: 35 V; (2)Disable voltage Vdis: 35 V; (3)Output current Io: 1.0 A; (4)Power dissipation 1 Pd1: 1.5 W; (5)Power dissipation 2 Pd2: 15 W; (6)Junction temperature Tj: +150 °C -; (7)Operating temperature Topr: -20 ~ +80 °C.
Features
KA78R09CTU features: (1)1A/3.3V, 5V, 8V, 9V, 12V, 15V output low dropout voltage regulator; (2)TO-220 full-mold package (4pin); (3)Overcurrent protection, thermal shutdown; (4)Overvoltage protection, short circuit protection; (5)With output disable function.
Diagrams

| Image | Part No | Mfg | Description | ![]() |
Pricing (USD) |
Quantity | ||||||||||||
|---|---|---|---|---|---|---|---|---|---|---|---|---|---|---|---|---|---|---|
![]() |
![]() KA78R09CTU |
![]() Fairchild Semiconductor |
![]() Low Dropout (LDO) Regulators 1A Fixed 9V LDO |
![]() Data Sheet |
![]()
|
|
||||||||||||
| Image | Part No | Mfg | Description | ![]() |
Pricing (USD) |
Quantity | ||||||||||||
![]() |
![]() KA7805 |
![]() Fairchild Semiconductor |
![]() Linear Regulators - Standard DISC BY MFG 7/03 |
![]() Data Sheet |
![]() Negotiable |
|
||||||||||||
![]() |
![]() KA7805A |
![]() Fairchild Semiconductor |
![]() Linear Regulators - Standard DISC BY MFG 7/03 |
![]() Data Sheet |
![]() Negotiable |
|
||||||||||||
![]() |
![]() KA7805AE |
![]() Fairchild Semiconductor |
![]() Linear Regulators - Standard 3-Terminal 1A Pos Voltage Regulator |
![]() Data Sheet |
![]() Negotiable |
|
||||||||||||
![]() |
![]() KA7805AETSTU |
![]() Fairchild Semiconductor |
![]() Linear Regulators - Standard 1A 2% Reg Short Leads |
![]() Data Sheet |
![]() Negotiable |
|
||||||||||||
![]() |
![]() KA7805AETU |
![]() Fairchild Semiconductor |
![]() Linear Regulators - Standard 3-Terminal 1A Positive Voltage |
![]() Data Sheet |
![]()
|
|
||||||||||||
![]() |
![]() KA7805AETU_Q |
![]() Fairchild Semiconductor |
![]() Linear Regulators - Standard 3-Terminal 1A Positive Voltage |
![]() Data Sheet |
![]() Negotiable |
|
||||||||||||
(China (Mainland))









