Product Summary
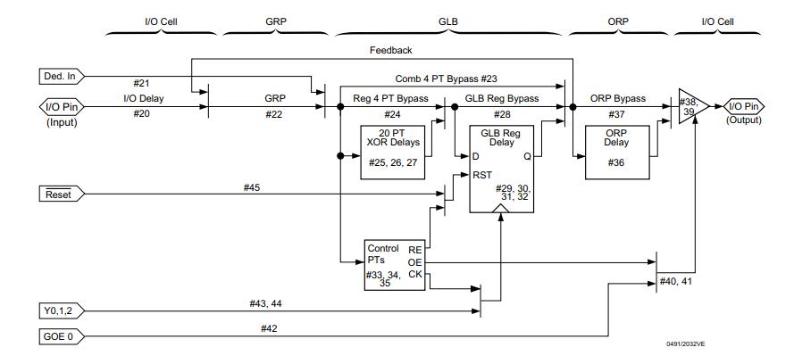
The ISPLSI2032VE-110LT44 is a High Density ProgrammableLogic Device that can be used in both 3.3V and 5V systems. The ISPLSI2032VE-110LT44 contains 32 Registers, 32 Universal I/O pins, two Dedicated Input Pins, three Dedicated Clock Input Pins, one dedicated Global OE input pin and a Global Routing Pool (GRP). The ISPLSI2032VE-110LT44 also has 32 I/O cells, each of which is directly Clocks in the ispLSI 2032VE device are selected using connected to an I/O pin.
Parametrics
ISPLSI2032VE-110LT44 absolute maximum ratings: Supply Voltage Vcc: -0.5 to +5.4V; (2) Input Voltage Applied: -0.5 to +5.6V; (3) Off-State Output Voltage Applied: -0.5 to +5.6V; (4) Storage Temperature: -65 to +150°C; (5) Case Temp. with Power Applied: -55 to +125°C; (6) Max. Junction Temp. (T ) with Power Applied: 150°C.
Features
ISPLSI2032VE-110LT44 features: (1) superfast high density in-system programmable logic; (2) 3.3V low voltage 2032 architecture; (3) in-system programmble; (4) 100% IEEE 1149.1 boundary scan testable; (5) the ease of use and fast system speed of PLDS with the density and flexibilty of FPGAs; (6) ispDesignEXPERT-logic compiler and complete ISP device design systems from HDL synthesis through in-system programming.
Diagrams

(China (Mainland))






