Product Summary
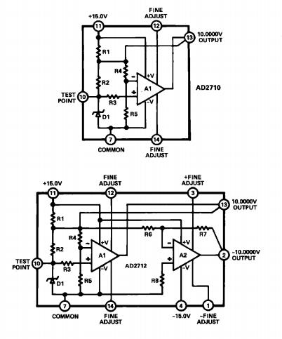
The d27128a is a temperature-compensated, hybrid voltage reference which provides precise 10000V output from an unreguled input level from 13.5V to 16.5V. The d27128a is also suitable for many types of high resolution A/D converters, either successive approximation or integrating designs.
Parametrics
d27128a absolute maximum ratings: (1)input voltage:±18V; (2)power dissipation:450mW; (3)operating temperature range:0 to +70℃; (4)storage temperature:-55 to +100℃; (5)lead temperature:+260℃.
Features
d27128a features: (1)laster trimmed to high accuaracy:10000V±1.0mV; (2)low temperature coefficient:1ppm/℃; (3)excellent long term stability:25ppm/100hrs; (4)5mA output current capability; (5)low noise; (6)short circuit protected; (7)no heater utilized; (8)small size.
Diagrams

(China (Mainland))






