Product Summary
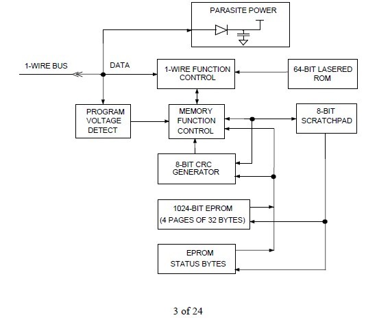
The ds2502(ds5.2502) 1Kb Add-Only Memory identifies and stores relevant information about the product to which it is associated. The ds2502(ds5.2502) consists of a factory-lasered registration number that includes a unique 48-bit serial number, an 8-bit CRC, and an 8-bit Family Code (09h) plus 1Kb of EPROM which is user-programmable. The power to program and read the ds2502(ds5.2502) is derived entirely from the 1-Wire communication line. The 48-bit serial number that is factory-lasered into each ds2502(ds5.2502) provides a guaranteed unique identity which allows for absolute traceability.
Parametrics
ds2502(ds5.2502) absolute maximum ratings: (1)Voltage on any Pin Relative to Ground: -0.5V to +12.0V; (2)Operating Temperature: -40℃ to +85℃; (3)Storage Temperature: -55℃ to +125℃; (4)Lead Temperature (TO-92, TSOC, SOT23-3, SOIC only, soldering 10s): +300℃.
Features
ds2502(ds5.2502) features: (1)1024 bits Electrically Programmable Read Only Memory(EPROM) communicates with the economy of one signal plus ground; (2)Reduces control, address, data, power, and programming signals to a single data pin; (3)Directly connects to a single port pin of a microprocessor and communicates at up to 16.3 kbits per second; (4)8-bit family code specifies DS2502 communications requirements to reader; (5)Presence detector acknowledges when the reader first applies voltage; (6)Low cost TO-92, SFN, or 8-pin SO, SOT-23 (3-pin), TSOC and flip chip surface mount package.
Diagrams

(China (Mainland))






